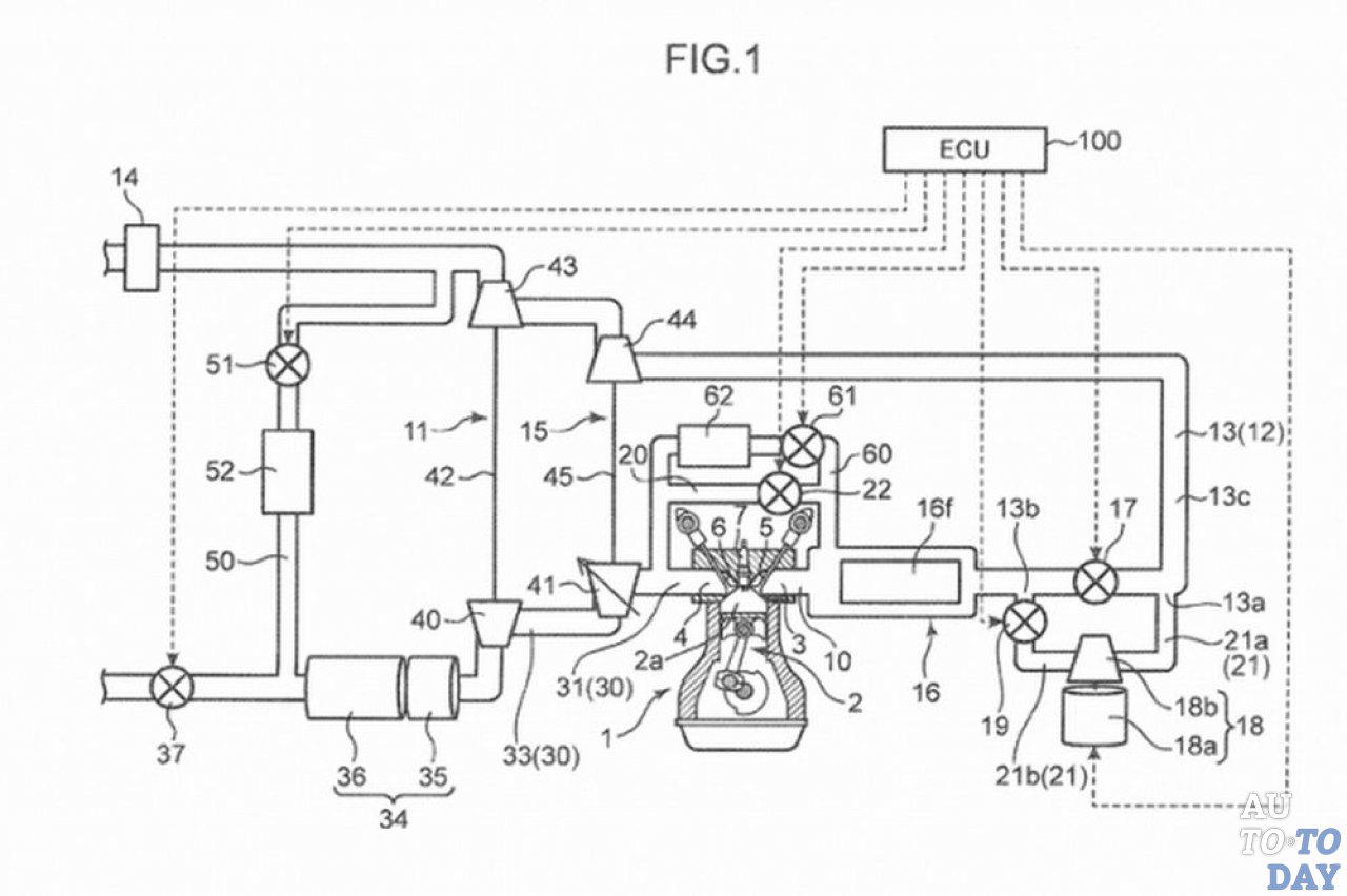
Mazda имеет не только технологию однородного воспламенения заряда, которую намерена представить в следующем году. Японский производитель также подал заявку на патент трехтурбинного двигателя, который недавно был опубликован Управлением по патентам и товарным знакам Соединенных Штатов (USPTO). Диаграмма и чертеж, поданные в USPTO, показывают бензиновый двигатель, имеющий пару обычных турбонагнетателей, которые работают параллельно с электрическим нагнетателем. Электрический элемент должен обеспечивать низкую мощность, в то время как двойной турбонаддув обязан производить быстрое накопление энергии. Электрическая турбина, вероятно, будет отключена от фирменной емкостной системы i-ELOOP, которая в Mazda 6 восстанавливает энергию во время торможения и преобразует ее в электричество. Оно накапливается в конденсаторах и используется для таких устройств, как кондиционер, звуковая система, освещение и прочее электрооборудование.

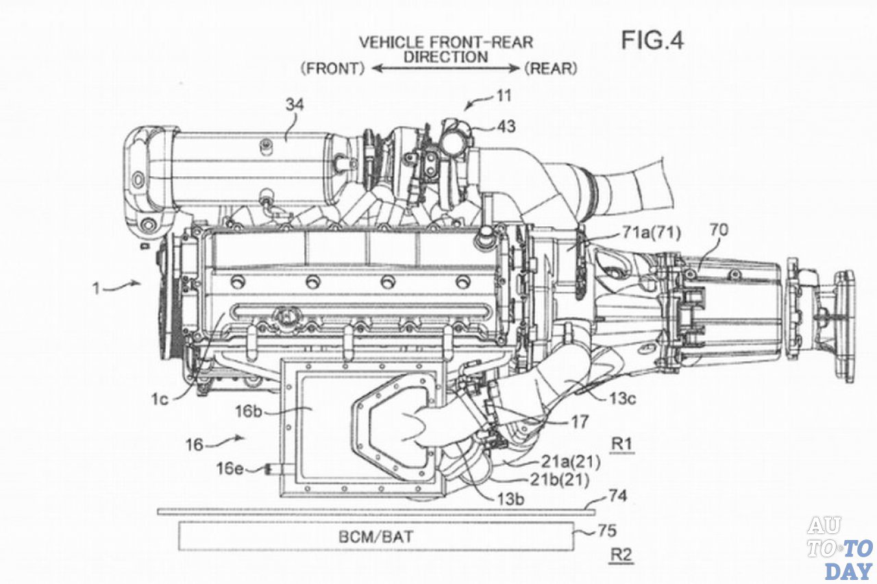
Интересно, что на одном из патентных изображений показан мотор, сконфигурированный в продольном направлении. В настоящее время модель MX-5 является единственным автомобилем в линейке Mazda с такой конфигурацией. Силовой агрегат Skyactiv-X будет также оснащен электрическим нагнетателем, но пока неясно, использует ли эта установка двигатель, описанный в этой патентной заявке. Mazda заявляет, что продолжит совершенствовать свои двигатель внутреннего сгорания, которые, по словам автопроизводителя, будут являться основными источниками мощности для транспортных средств во всем мире на долгие годы. Также они имеют наибольший потенциал для сокращения выбросов. План запуска будущих технологий показывает, что Skyactiv-X выйдет на рынок в 2019 году, а дизельные двигатели второго поколения Skyactiv-D – через год.
0 








