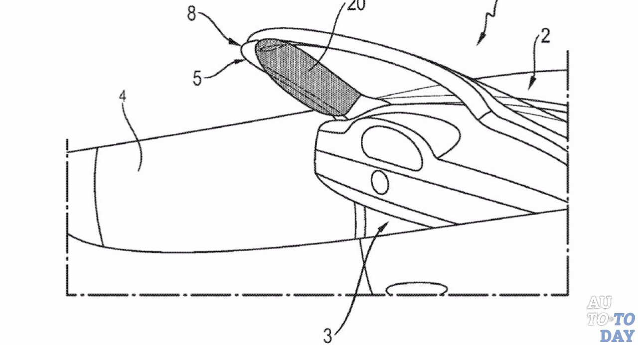
Porsche запатентовала подушку безопасности в передней стойке для кабриолетов в Ведомстве по патентам и товарным знакам США, которая может сделать автомобиль немного безопасней. Из-за отсутствия крыши в кабриолетах, они часто не так безопасны, как их собратья с жесткой крышей. В некоторых столкновениях, в том числе с небольшими ударами, предложенные подушки безопасности могут выступать вместо боковых шторок, без которых кабриолеты обходятся.

Диаграммы патента показывают, что подушка безопасности растягивается по длине передней стойки при развертывании, а представители Porsche говорят, что испытания доказали, что это благоприятно при авариях, когда пассажир перемещается вперед и в сторону. Конечно, не только кабриолеты извлекут пользу из подушек безопасности, но и другие автомобили можно сделать немного безопаснее благодаря аналогичным системам. Когда новинка появится на серийных кабрио, пока не сообщается.
0 








