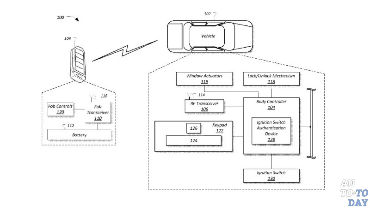
В течение многих десятилетий, Ford предлагала клавиатуру на дверях своих автомобилей, которая позволяла владельцам доступ к авто по средствам введения правильного кода. Удивительно, но клавиатура оставалась практически неизменной за исключением последней версии с сенсорной кнопкой. Новый патент означает, что в ближайшее время клавиатура может получить весомое обновление.

Первое большое изменение заключается в том, что клавиатура может принять форму брелока. Кроме того, брелок теперь станет мульти-сенсорной панелью похожей на современные смартфоны. Согласно описанию патента, это позволит ввести разнообразие кодовых обозначений. Вместо того, чтобы просто вводить цифровой номер, владельцы могут ввести код, который быть ударом, нажатием клавиш, или даже одновременным нажатием клавиш. Например, можно ввести цифровой код от 1 до 3, а затем, удерживая 2 и 4, разблокировать автомобиль. В патенте также указано, что на брелке будет отображены разблокировочные и другие функции, после ввода правильного кода, что делает его более функциональным.
Практические последствия этого обновления системы клавиатуры, могут обеспечить дополнительный уровень безопасности. Если кто-то украдет ваши ключи, они не смогут сесть в машину без знания кода.
Такое нововведение компании может появиться через несколько лет.
0 








