Официальные документы, опубликованные представителями американской компании, детализировали систему съёмной крыши для пикапов Ford.

Множество недавних патентных изображений, принадлежащих Ford, указали на то, что предстоящий Bronco, вероятно, будет укомплектован съёмными панелями кузова, напоминающими конструктивные элементы Jeep Wrangler.
- Ford отзывает 322 000 автомобилей из-за риска возгорания
- Новый Ford Bronco получит ассортимент аксессуаров Yakima
- Ford намерен использовать платформу MEB для нескольких европейских моделей
- Ford запускает отзыв: некоторые Explorer продолжают травмировать водителей
- Fair приобретает автомобильный сервис Ford
По мнению руководства, автомобиль будет не единственным пикапом, оснащённым аналогичными съёмными деталями.

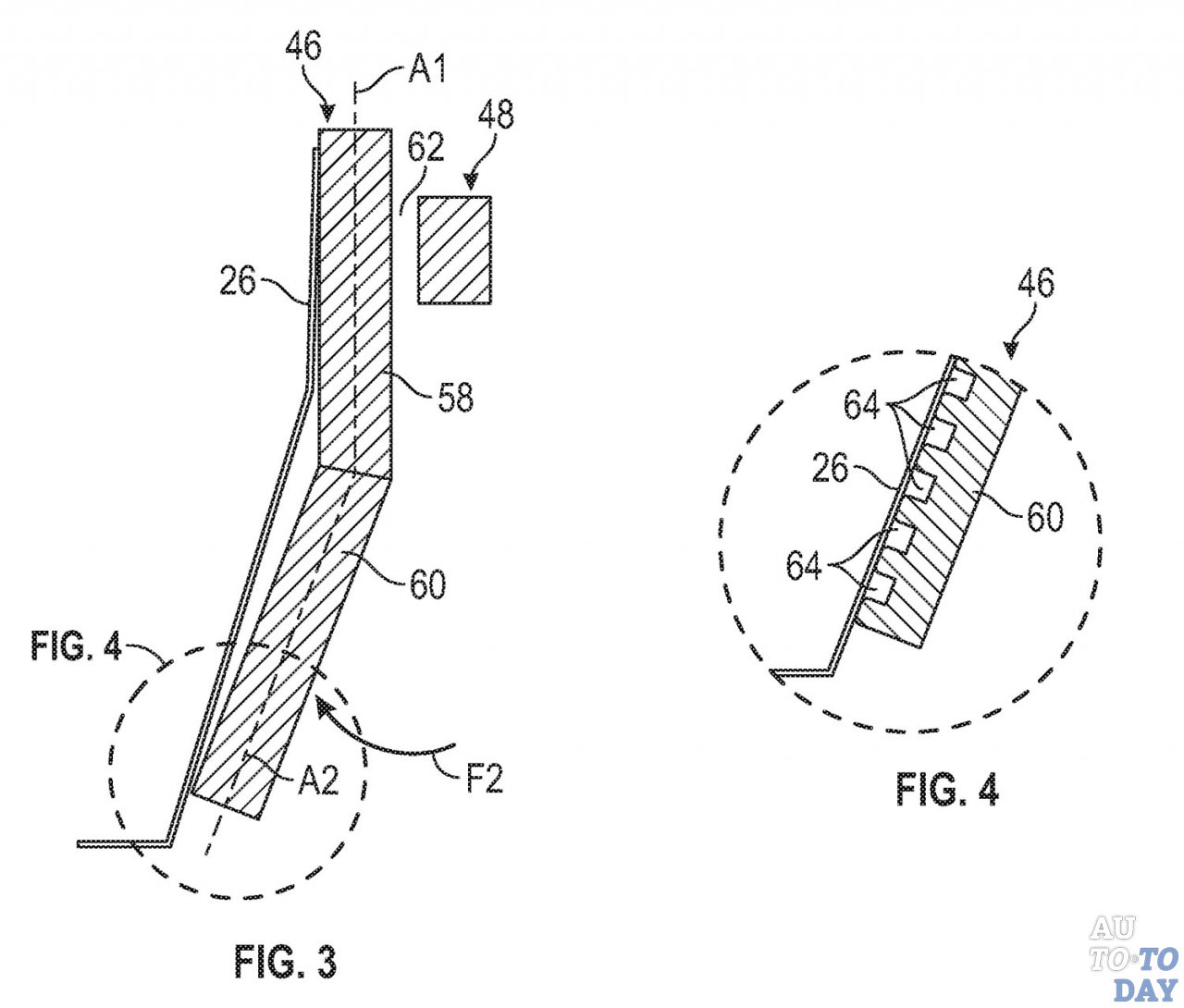
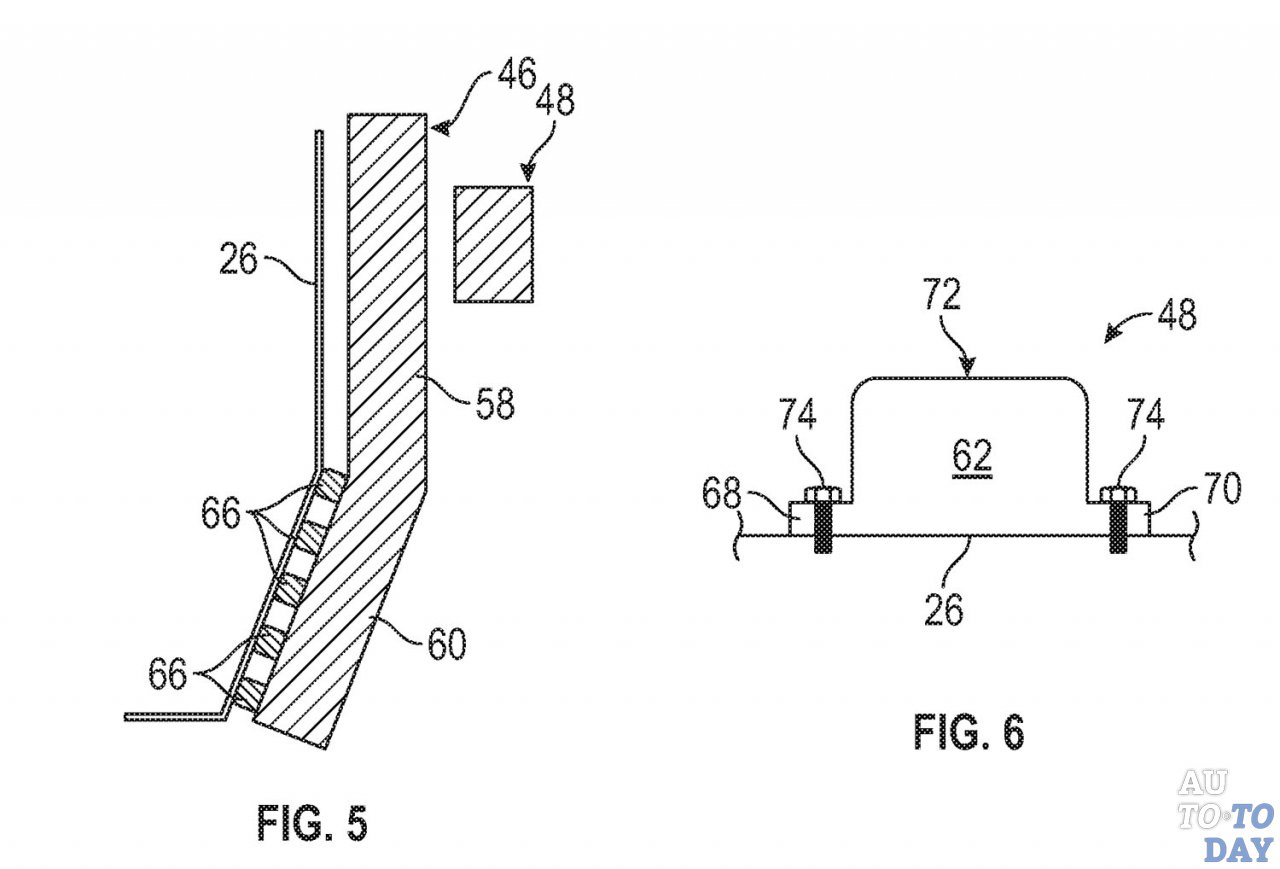
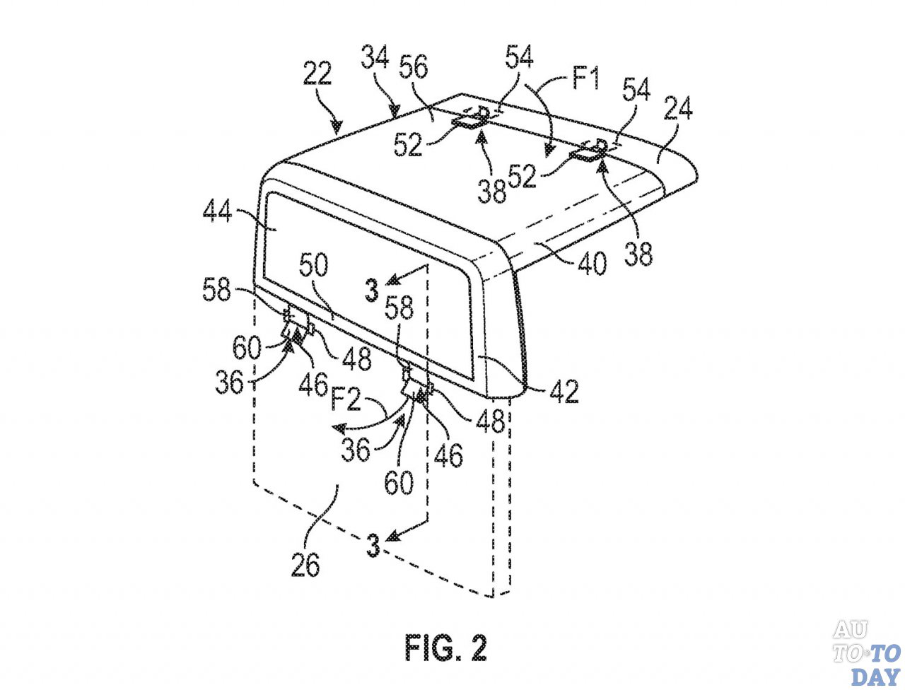
Как показано на чертежах, крыша пикапа будет иметь специальные хомуты, позволяющие с лёгкостью осуществлять её снятие. В документации установка описывается как «крыша с самоустанавливающейся монтажной системой, которая позволяет владельцам быстро и легко переустанавливать крышу, если это необходимо».
- Ford продаёт автомобильный сервис Canvas
- VW и Ford не будут электрифицировать новые Amarok и Ranger
- Компания Ford своевременно выходит на рынок электромобилей
- Avis Budget Group и Ford объединяются для предоставления более качественных услуг
- Агентство EPA выпустило рейтинги расхода топлива Ford Explorer
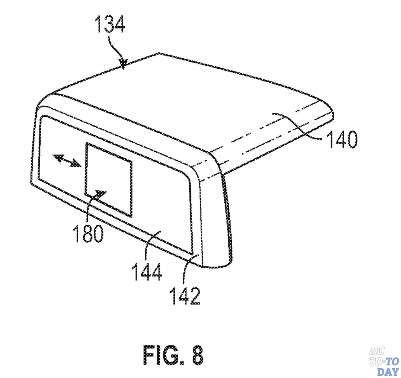
Пикапы с открывающимися задними стёклами (и без них) также детализированы и изображены.

Пока непонятно какой автомобиль первым использует вышеописанную систему съёмной крыши, но потенциальным (и наиболее вероятным) кандидатом является Ranger следующего поколения, разрабатываемый с Volkswagen.

0 








