Патент, опубликованный 2 июля, детализирует концепцию Project Titan.

В 2015 году компания Apple подала патент под названием «Выдвижные бамперы для транспортных средств» в Ведомство по патентам и товарным знакам США (United States Patent and Trademark Office, USPTO). Патент был опубликован утром 2 июля.
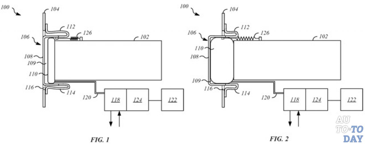
Документ описывает выдвижной бампер с надувной конструкцией, которая позволяет изменять положения. Сам бампер может быть жёстким, иметь U-образное поперечное сечение и даже поддерживать линейное скольжение при перемещении между двумя положениями. Для втягивания он опирается на пружинный механизм, тогда как надувная конструкция хранится в пустом пространстве внутри транспортного средства. Как указывает AppleInsider, подобная компоновка предлагает уникальную эстетику, а также такие преимущества, как возможность убирать бампер, чтобы автомобиль мог поместиться в ограниченных пространствах в парковочных местах. Кроме того, бампер, поддерживаемый воздушной подушкой, может обеспечить дополнительную защиту при столкновении.
0 








